微信目前已经成为一个不可或缺的通讯工具。在带宽有限的情况下,要保证微信的正常使用,究竟需要多大的带宽呢?为了研究此问题,我们做了如下的测试。
1. 不做任何限速


如上图所示,微信的初始化大概占用了50KBps的带宽,而发送文字消息的带宽占用则小于1kBps。
2. 设置50KBps限速


如上图所示,设置上传下载限速50KBps,微信的使用,包括文字语音消息、朋友圈都不受任何影响。
3. 设置10KBps限速


设置上传下载限速10KBps时,微信的文字和语言消息仍然很顺畅,基本没有延时。但是刷朋友圈需要延时5秒左右,朋友圈的视频和大图片要等待更长时间才可以显示出来。
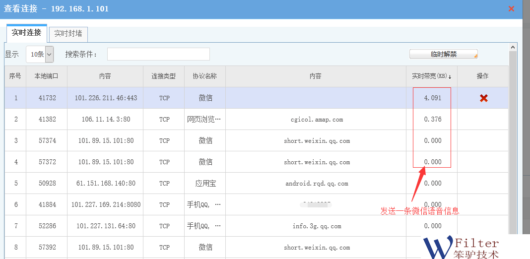
4. 设置5KBps限速



设置5KBps限速时,文字消息仍然可以保持顺畅,语音消息需要延时3秒。朋友圈则需要等待10秒以上。
5. 设置2KBps限速


当设置2KBps限速时,虽然微信仍然可以使用,但是文字消息都需要等待3-5秒,其他功能都基本用不了。
6. 总结
根据以上的测试,微信正常使用需要的最小带宽,可以分如下几个级别:
理想情况:50KBps
文本和语音消息功能:10KBps,文字语音消息顺畅,朋友圈慢。
只保留文字消息:5KBps,文本消息可以顺畅使用,其他功能慢。
其他的应用都可以用WFilter里面的“应用过滤”功能全部禁止掉。从而使客户机只能使用微信。
还有一些相关数据,也公开给大家:
a. 微信打开30分钟,不发任何消息。大约需要占用1.8MB流量。
b. 发一条微信文字消息,大约需要占用10KB的流量。
c. 发一条微信语音消息(10秒),大约需要占用50KB的流量。
